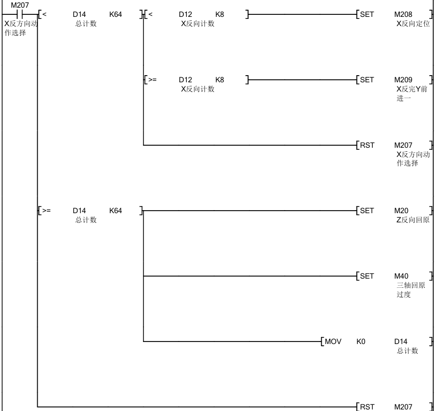
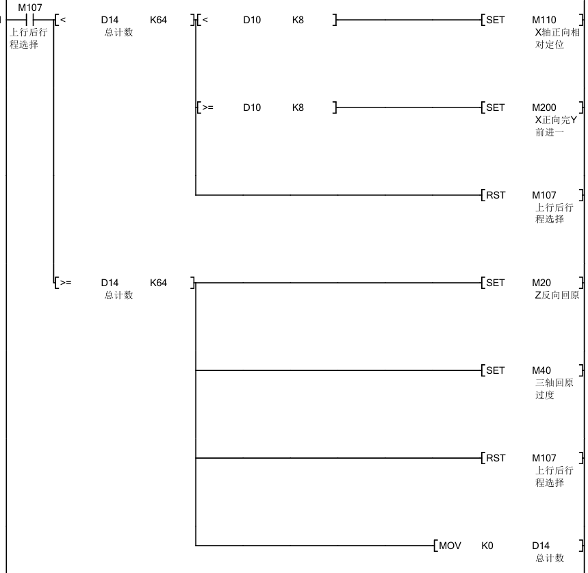
三菱三轴阵列控制

pomegranateSignal / 2024-10-30 / 原文