redis数据结构字典
redis数据结构字典
数据结构
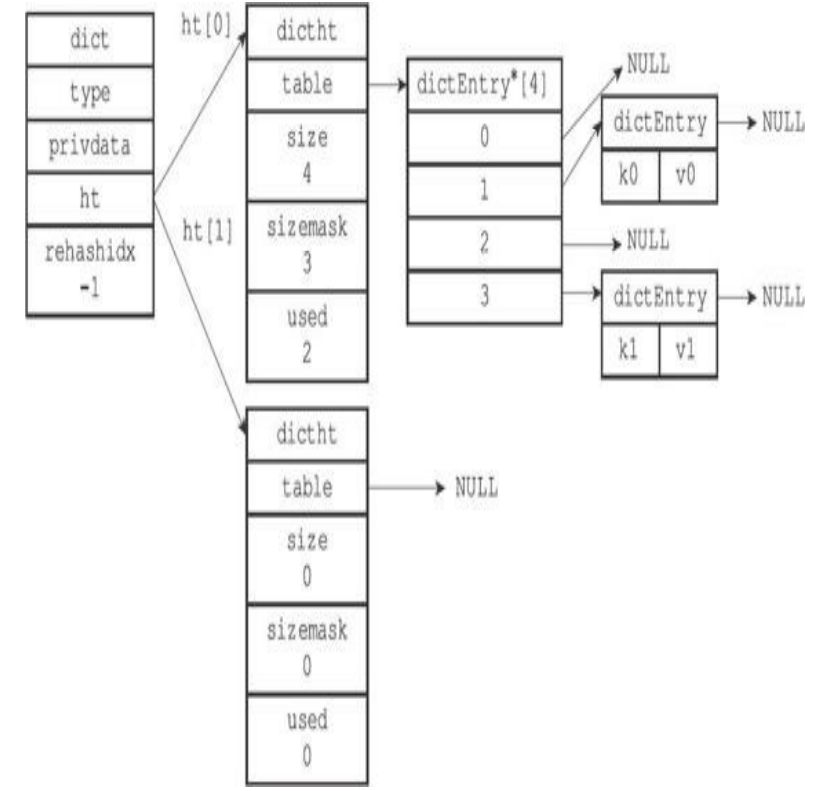
Redis的字典使用哈希表作为底层实现,一个哈希表里面可以有多个哈希表节点,而每个哈希表节点就保存了字典中的一个键值对。
哈希表
typedef struct dictht {
// 哈希表数组
dictEntry **table;
// 哈希表大小
unsigned long size;
// 哈希表大小掩码,用于计算索引值
// 总是等于size-1
unsigned long sizemask;
// 该哈希表已有节点的数量
unsigned long used;
} dictht;
table属性是一个数组,数组中的每个元素都是一个指向dict.h/dictEntry结构的指针,每个dictEntry结构保存着一个键值对。
size属性记录了哈希表的大小,也即是table数组的大小
used属性则记录了哈希表目前已有节点(键值对)的数量。
sizemask属性的值总是等于size-1,这个属性和哈希值一起决定一个键应该被放到table数组的哪个索引上面。

哈希表节点
typedef struct dictEntry {
// 键
void *key;
// 值
union{
void *val;
uint64_tu64;
int64_ts64;
} v;
// 指向下个哈希表节点,形成链表
struct dictEntry *next;
} dictEntry;
key属性保存着键值对中的键,而v属性则保存着键值对中的值,其中键值对的值可以是一个指针,或者是一个uint64_t整数,又或者是一个int64_t整数。
next属性是指向另一个哈希表节点的指针,这个指针可以将多个哈希值相同的键值对连接在一次,以此来解决键冲突(collision)的问题。

字典
typedef struct dict {
// 类型特定函数
dictType *type;
// 私有数据
void *privdata;
// 哈希表
dictht ht[2];
// rehash索引
// 当rehash不在进行时,值为-1
in trehashidx; /* rehashing not in progress if rehashidx == -1 */
} dict;
type属性和privdata属性是针对不同类型的键值对,为创建多态字典而设置的:
-
type属性是一个指向dictType结构的指针,每个dictType结构保存了一簇用于操作特定类型键值对的函数,Redis会为用途不同的字典设置
不同的类型特定函数。 -
privdata属性则保存了需要传给那些类型特定函数的可选参数。
typedef struct dictType {
// 计算哈希值的函数
unsigned int (*hashFunction)(const void *key);
// 复制键的函数
void *(*keyDup)(void *privdata, const void *key);
// 复制值的函数
void *(*valDup)(void *privdata, const void *obj);
// 对比键的函数
int (*keyCompare)(void *privdata, const void *key1, const void *key2);
// 销毁键的函数
void (*keyDestructor)(void *privdata, void *key);
// 销毁值的函数
void (*valDestructor)(void *privdata, void *obj);
} dictType;
ht属性是一个包含两个项的数组,数组中的每个项都是一个dictht哈希表,一般情况下,字典只使用ht[0]哈希表,ht[1]哈希表只会在对ht[0]哈希表进行rehash时使用。
rehashidx记录了rehash目前的进度,如果目前没有在进行rehash,那么它的值为-1。

解决键冲突
Redis的哈希表使用链地址法(separate chaining)来解决键冲突,每个哈希表节点都有一个next指针,多个哈希表节点可以用next指针构成一个单向链表,被分配到同一个索引上的多个节点可以用这个单向链表连接起来,这就解决了键冲突的问题。
因为dictEntry节点组成的链表没有指向链表表尾的指针,所以为了速度考虑,程序总是将新节点添加到链表的表头位置(复杂度为O(1)),排在其他已有节点的前面。
rehash
Redis对字典的哈希表执行rehash的步骤如下:
- 为字典的ht[1]哈希表分配空间,这个哈希表的空间大小取决于要执行的操作,以及ht[0]当前包含的键值对数量(也即是ht[0].used属性的值):
- 如果执行的是扩展操作,那么ht[1]的大小为第一个大于等于
ht[0].used*2的2n(2的n次方幂); - 如果执行的是收缩操作,那么ht[1]的大小为第一个大于等于
ht[0].used的2n。
- 如果执行的是扩展操作,那么ht[1]的大小为第一个大于等于
- 将保存在ht[0]中的所有键值对rehash到ht[1]上面:rehash指的是重新计算键的哈希值和索引值,然后将键值对放置到ht[1]哈希表的指定位置上。
- 当ht[0]包含的所有键值对都迁移到了ht[1]之后(ht[0]变为空
表),释放ht[0],将ht[1]设置为ht[0],并在ht[1]新创建一个空白哈希
表,为下一次rehash做准备。
渐进式rehash
rehash动作并不是一次性、集中式地完成的,而是分多次、渐进式地完成的。
这样做的原因在于,如果ht[0]里只保存着四个键值对,那么服务器可以在瞬间就将这些键值对全部rehash到ht[1];但是,如果哈希表里保存的键值对数量不是四个,而是四百万、四千万甚至四亿个键值对,那么要一次性将这些键值对全部rehash到ht[1]的话,庞大的计算量可能会导致服务器在一段时间内停止服务。
以下是哈希表渐进式rehash的详细步骤:
- 为ht[1]分配空间,让字典同时持有ht[0]和ht[1]两个哈希表。
- 在字典中维持一个索引计数器变量rehashidx,并将它的值设置为0,表示rehash工作正式开始。
- 在rehash进行期间,每次对字典执行添加、删除、查找或者更新操作时,程序除了执行指定的操作以外,还会顺带将ht[0]哈希表在rehashidx索引上的所有键值对rehash到ht[1],当rehash工作完成之后,程序将rehashidx属性的值增一。
- 随着字典操作的不断执行,最终在某个时间点上,ht[0]的所有键值对都会被rehash至ht[1],这时程序将rehashidx属性的值设为-1,表示rehash操作已完成。
因为在进行渐进式rehash的过程中,字典会同时使用ht[0]和ht[1]两个哈希表,所以在渐进式rehash进行期间,字典的删除(delete)、查找(find)、更新(update)等操作会在两个哈希表上进行。例如,要在字典里面查找一个键的话,程序会先在ht[0]里面进行查找,如果没找到的话,就会继续到ht[1]里面进行查找,诸如此类。
另外,在渐进式rehash执行期间,新添加到字典的键值对一律会被保存到ht[1]里面,而ht[0]则不再进行任何添加操作,这一措施保证了ht[0]包含的键值对数量会只减不增,并随着rehash操作的执行而最终变成空表。